Інструкція користувача пасічних GSM-вагів BH-1, BH-04

Пристрій призначений для збору фізичних параметрів вуликів та реєстрації їх на вебсервері bee.in.ua. BH-1 вимірює поточні значення ваги вулика (BH-4 — чотирьох вуликів), температури та відносної вологості повітря всередині вулика, а також температури повітря зовні. Прилади BH-1, BH-4 не призначені для використання як торгові ваги. Вони розроблені для відстеження тенденцій у роботі та розвитку бджолиних сімей.

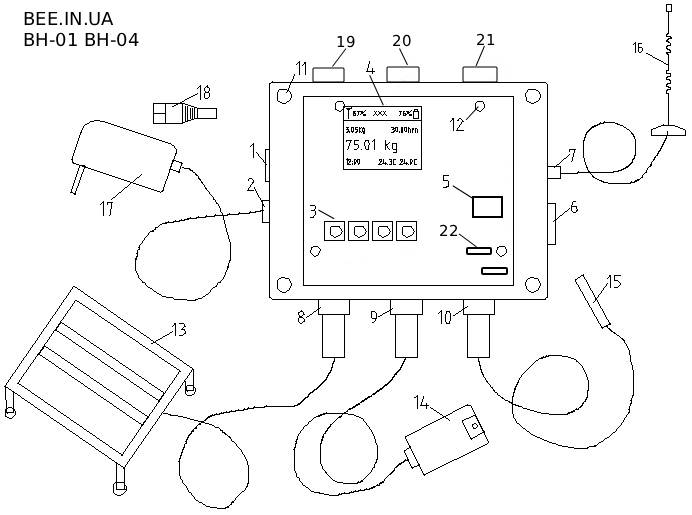
Схематичне зображення пристрою BH-01, BH-04

Схематичне зображення пасічних WiFi GSM ваг BH-01 та BH-04 для інструкції
  1. Кнопка живлення
  2. Порт зовнішнього живлення
  3. Кнопка тарування
  4. OLED-екран
  5. Слот SIM-карти
  6. Кнопка ECO-режиму
  7. Порт GSM-антени
  8. Порт датчика ваги 1
  9. Порт датчика температури, вологості у вулику
  10. Порт датчика температури ззовні
  11. Болти кріплення прозорої кришки
  12. Болти кріплення плати
  13. Датчик ваги
  14. Датчик температури, вологості у вулику
  15. Датчик температури ззовні
  16. GSM-антена
  17. Блок живлення
  18. Штекер для підключення сонячної батареї
  19. Порт датчика ваги 2
  20. Порт датчика ваги 3
  21. Порт датчика ваги 4
  22. Джампер вибору WiFi-GSM

Схематичне зображення OLED-екрану

  1. Рівень GSM/WiFi-зв’язку
  2. Заряд акумулятора
  3. Поточне значення ваги
  4. Поточний системний час
  5. Поточна температура у вулику
  6. Поточна температура ззовні
  7. Приріст ваги з минулого вечора 22:00
  8. Сума на рахунку GSM-оператора
  9. Найменування GSM-оператора, стан WiFi зв'язку
  10. Номер IP у WiFi мережі

Підключення датчика ваги (13)

При вимкненій кнопці (1) приєднайте штекер(и) датчика(ів) ваги (13) до порта (8, 19, 20, 21). Гайку штекера можна не закручувати. При необхідності пристрій може працювати і без датчика(ів) ваги (13), наприклад взимку.

Підключення датчика температури, вологості (14)

При вимкненій кнопці (1) приєднайте штекер датчика (14) до порта (9) та закрутіть гайку штекера за годинниковою стрілкою. При необхідності пристрій може працювати і без цього датчика.

Підключення датчика температури ззовні (15)

При вимкненій кнопці (1) приєднайте штекер датчика (15) до порта (10) та закрутіть гайку штекера за годинниковою стрілкою. При необхідності пристрій може працювати і без цього датчика.

Підключення GSM-антени (16)

Під’єднайте штекер антени (16) до порта (7) та закрутіть гайку штекера за годинниковою стрілкою.

Вибір мережі зв'язку GSM або WiFi (22)

Джампер (22) дозволяє вибрати мережу GSM LTE(4G) чи WiFi для роботи пристрою. Режим WiFi дозволяє пристрою передавати зібрані дані на глобальний сервер через ваш WiFi-роутер. Також в цьому режимі можна проводити налаштування пристрою через локальний веб-кабінет. В режимі GSM LTE(4G) пристрій працює через мобільний інтернет. Також в цьому режимі стають доступні смс-команди та отримання смс-звітів.

Увімкнення пристрою

Кнопка (6) не натиснена. Усі потрібні датчики підключені. Акумулятор заряджений або пристрій на зарядці від зовнішнього джерела живлення. Натисніть кнопку (1) та почекайте на звуковий сигнал та відображення інформації на екрані. Пристрій увімкнено.

Вимкнення пристрою

Щоб вимкнути пристрій, відімкніть кнопку живлення(1). Пристрій можна заряджати і у вимкненому стані.

Режими роботи пристрою

Передбачені два режими роботи пристрою: повний та ECO. Повний режим використовується для налаштування пристрою, перевірки зв’язку та тарування датчиків ваги, а ECO для постійної круглодобової роботи. В повному режимі пристрій відображає інформацію на OLED-екрані (4), відправляє дані на веб-сервер кожні 10 хв та періодично приймає смс-команди. В ECO-режимі BH-01(BH-04) не показує інформацію на екрані, періодично переводиться в режим сну та прокидається за внутрішнім будильником. Після прокидання пристрій перевіряє смс-команди, відправляє дані на веб-сервер та переводиться у режим сну. ECO – це енергозаощадливий режим, розроблений для максимальної економії заряду акумулятора. Ви можете змінювати періодичність прокидання пристрою в цьому режимі на такі значення 15хв, 20хв, 30хв, 60хв, 12год, 24год. При цьому будильник для прокидання веде відлік від 0хв поточної години. І наприклад при налаштуванні періоду 15хв, пристрій буде прокидатися рівно о ХХ:00, ХХ:15, ХХ:30, ХХ:45 кожної години доби.

Перше налаштування WiFi

Спершу пристрій необхідно налаштувати на WiFi мережу. Переключіть джампер(22) в положення WiFi. Відтисніть кнопку ECO та натисніть кнопку живлення. Під’єднайтеся за допомогою комп’ютера або планшета, мобільного телефона до створеної пристроєм WiFi мережі. Вона без паролю. В назві мережі буде міститися унікальний номер пристрою.

Після вдалого підключення відкрийте інтернет-браузер та у полі адреси введіть IP-адресу 192.168.4.1

Логін: admin, пароль : peremoga

Після цього ви повинні потрапити на головну сторінку веб-кабінету пристрою.

На головній сторінці веб-кабінету можна побачити унікальний номер пристрою, внутрішній годинник, покази датчиків та рівень заряду внутрішнього акумулятора.

Тепер зайдіть на вкладку WiFi для налаштування пристрою на вашу мережу. Тут введіть назву та пароль вашої WiFi мережі та натисніть кнопку Submit для збереження.

При необхідності можна вручну налаштувати IP вашої мережі та натисніть кнопку Submit and RESET. Пристрій перезавантажиться.

Підключення до веб-кабінету пристрою

Тепер налаштування можна виконувати через вашу WiFi мережу. Під’єднайтеся за допомогою комп’ютера або планшета, мобільного телефона до вашої WiFi мережі. Відкрийте інтернет-браузер та у полі адреси введіть IP-адресу, яка відображається на екрані(30) пристрою.

Логін: admin, пароль : peremoga

Після цього ви повинні потрапити на головну сторінку веб-кабінету пристрою.

Налаштування датчиків ваги

Для налаштування датчиків ваги перейдіть за посиланням Scales1 (Scales2, Scales3, Scales4).

При пустій тарі вагів натисніть кнопку Reset tare. Зачекайте перезавантаження веб-сторінки та звукового сигналу пристрою.

Покладіть на ваги відому вагу та введіть її значення в нижнє поле Weight, натисніть кнопку Submit та зачекайте перезавантаження веб-сторінки. Перевірте чи відповідає значення виміряної ваги заданому.

Для тарування (скидання на нуль) вагів натисніть на кнопку Reset tare та зачекайте перезавантаження сторінки та звукового сигналу пристрою. Також тарування можна здійснити фізичними кнопками(3) на приладі. При цьому маштабування та вимірювання залишаються коректними.

Загальні налаштування

Перейдіть на закладку Settings у WiFi-вебкабінеті.

На цій сторінці можна налаштувати наступні параметри:

1. Час періоду сну приладу.

2. USSD код мобільного оператора для визначення залишку коштів на рахунку

3. Три номери телефонів для отримання СМС-звітів. Залиште пустими зайві поля для вводу номерів телефону. Якщо не бажаєте отримувати СМС, залиште усі поля для вводу номерів телефону пустими.

Після зміни значення параметру натисніть відповідну кнопку Save та дочекайтеся перезавантаження веб-сторінки

Налаштування сервера даних

Перейдіть на вкладку Mqtt у WiFi-веб-кабінеті.

На цій сторінці можна вибрати, куди будуть надсилатися дані пристрою. За замовчуванням усі дані надсилаються на наш сервер bee.in.ua (активний прапорець HTTP active, інші поля введення можна залишити порожніми). Синхронізація часу системного годинника відбувається автоматично.

Якщо зняти прапорець HTTP active, передавання даних на наш сервер буде припинено. Активними залишаться SMS-повідомлення в режимі GSM. Синхронізацію часу необхідно буде налаштувати на сторінці Settings.

За потреби надсилати дані на ваш MQTT-сервер активуйте прапорець «MQTT active» та заповніть поля налаштувань. Ця функція пристрою працює в режимах WiFi та GSM.

Поля введення на цій сторінці призначені виключно для налаштування підключення до вашого MQTT-сервера.

Після будь-якої зміни налаштувань необхідно натиснути кнопку «Save» та дочекатися повного перезавантаження веб-сторінки.

Завантаження нової прошивки

Маючи файл прошивки пристрою, ви можете завантажити його на вкладці Firmware (попередньо проконсультуйтесь в дистриб'ютора).

Планові СМС

Пристрій кожну добу надсилає три СМС з основними даними на номери (до 3 номерів телефонів) власника. Ці СМС повинні надходити о 7:00, 15:00 та 21:00.

Також у Telegram боті можна дивитися останні дані які в тегах позначені "На карті". Бот називається beeinua. Увійшовши до бота, прочитайте подальші дії.

Налаштування періоду сну в ECO-режимі

Якщо вам потрібно змінити період сну, відправте СМС на телефонний номер SIM-карти пристрою з однією з цих команд, які задають період у хвилинах:

  • d1=15
  • d1=20
  • d1=30
  • d1=60
  • d1=720
  • d1=1440

Коли пристрій отримає та виконає СМС-команду, то подасть звуковий сигнал і короткочасно відобразить на екрані (4) текст з отриманою командою.

Також період сну можна налаштувати у власному кабінеті на сайті та локально у WiFi веб-кабінеті

Живлення

Прилад в середині корпусу містить один основний літій-іонний акумулятор типорозміру 18650 ємністю 2900 mAh 3,7В, та малий годинниковий літій-іонний акумулятор типорозміру CR2032 3В для роботи системного годинника.

Для зарядки цих акумуляторів передбачено порт (2), до якого можна підключати такі джерела постійного струму з напругою 6 … 18В, як блоки живлення, кислотні акумулятори, сонячні батареї … Заряджати пристрій можна як періодично (2-4 рази/міс) так і, залишаючи зовнішнє джерело живлення підключеним, постійно. Порт зарядки(2) має захист від неправильної полярності зарядного пристрою.

Зарядка відбувається незалежно від положення кнопки живлення(1), але швидше пристрій буде заряджатися у вимкненому стані, або в ЕСО-режимі

Для заміни акумуляторів зніміть верхню прозору кришку пристрою, відкрутивши 4 гвинти. Підніміть верхню плату пристрою, відкрутивши 4 гвинти. Так у вас буде доступ до обох акумуляторів.

Встановлення приладу ВН-1 на пасіці

1. Перед встановленням вулика на вагову платформу, зарядіть пристрій >90%, підключіть датчики та антену, поповніть рахунок GSM-оператора.

2. При вимкненій кнопці ЕСО(6) натисніть кнопку живлення(1).

3. Після короткого звукового сигналу відобразяться дані на дисплеї.

4. За допомогою регулюючих ніжок, виставте горизонт вагової платформи.

5. Встановіть на вагову платформу вулик (вага вулика повинна бути не більше 300 кг).

6. Натисніть кнопку тара(3).

Через певний час пролунає звуковий сигнал, та на дисплеї відобразиться вага «0,00kg».

7. Тепер на дисплеї буде відображатися вага в реальному часі.

8. Встановіть внутрішній датчик температури, вологості через розподільчу москітну сітку по центру гнізда, зверху рамок.

9. Зовнішній датчик температури виведіть назовні під навісом так, щоб не потрапляли сонячні промені.

10. Прилад ВН-1 розташуйте над гніздом бджолиної сім’ї, провід від датчиків виведіть через льоток корпусу.

11. Натисніть кнопку(6) переведення приладу в режим ЕСО. При цьому вимикається екран, та прилад після передачі даних на сервер переходить у режим сну.Рівно о хх:00, хх:15, хх:30 та хх:45 (залежить від налаштувань) кожної години прилад прокидається для відправлення даних на сайт https://bee.in.ua та смс власнику згідно розкладу 7:00, 15:00, 21:00. В режимі сну прилад на повному заряді буде працювати більше 14 діб (при прокиданні кожні 15хв)

12. Накрийте дах вулика та встановіть антену.

13. Прилад ВН-1(BH-4) готовий до роботи

14. Раз на 10-20 діб необхідно заряджати акумулятор приладу. Заряджати прилад можна від: блока живлення 9-12в, кислотного акумулятора 12в великого об’єму. Також акумулятор пристрою може знаходитись на постійній підзарядці від блока живлення або сонячної панелі 6-12В >3Вт.

Сонячну панель можна підключати до роз’єму живлення напряму, але якщо вам треба паралельно заряджати ще й кислотний акумулятор, то використовуйте контролер заряду для сонячних батарей. На період зимових хмарних безсонячних місяців (листопад, грудень, січень) ми рекомендуємо залишати пристрій з підключеним зарядженим зовнішнім кислотним акумулятором 12В >7А/год, та підзаряджати його за потреби.

15. Дані з пристрою у вигляді графіків можна знайти на сайті https://bee.in.ua у власному кабінеті.

Зберігання приладу ВН-1(BH-4):

  • вимкнути прилад
  • від’єднати усі датчики
  • зняти вулик з вагової платформи
  • усі компоненти потрібно зложити в попередньо підготовлену ємність (ящик)
  • перемістити в приміщення на зберігання

Прилад потрібно зберігати в сухому місці з температурою +5...20 ºС, всі компоненти обережно зложені, недоступні для дітей і тварин. Перед тривалим зберіганням потрібно зарядити пристрій до 40% і відключити живлення.

Грозозахист

При влучанні блискавки в антену, пристрій може повністю вийти з ладу. Тому рекомендується по можливості встановлювати громовідвід недалеко від вулика. Це може бути металевий струмопровідний штир, висотою вище кінчика антени, вставлений у землю.

Можливі несправності

Пристрій не прокидається в режимі ЕСО після повного розряду та заряду акумулятора Вийшов з ладу годинниковий акумулятор CR2032. Замініть цей акумулятор на новий.

Не надходять планові СМС Неправильно введений номер телефону власника в налаштування пристрою. Переконайтеся, що правильно ввели номер телефону власника у WiFi-вебкабінеті (380xxxxxxxxx)

Низький GSM-сигнал <35% Несправність антени. Замініть GSM-антену Паганий зв’язок в даній локації. Підніміть антену вище, змініть GSM-оператора або встановіть напрямлену GSM-антену.

Пристрій не вмикається Увімкнено ECO-режим. Відімкніть кнопку (6) Акумулятор розряджений. Зарядіть акумулятор. Акумулятор вийшов з ладу. Замініть акумулятор.